9.2 -
1
2
3
4
5
6
7
8
9
10
11
12
13
14
15
16
17
18
19
20
21
22
23
24
25
26
27
28
29
 Spare parts catalogue
Importante
As referências em negrito deste capìtulo indicam que as peças citadas não estão presentes nas imagens ao lado do texto, mas devem ser localizadas nesta vista explodida.
Abertura do semi-cárter
 
Utilizando um par de chaves de fenda, retire o anel elástico de bloqueio (1) do eixo de transmissão da distribuição (2) no semi-cárter do lado da embraiagem.
Notas
Tenha cuidado para não riscar a superfìcie do eixo durante a extracção do anel elástico.
Desaperte os parafusos de união (22), (25) e (26) dos semi-cárteres no lado do alternador.
Desaperte os dois parafusos (22), no semi-cárter do lado da embraiagem, em correspondência da sede do cilindro vertical.
Reutilize a tampa do alternador, ou uma tampa de serviço, com o extractor 88713.1749 montado. Fixe-a com alguns parafusos originais ao semi-cárter e, accionando o perno central da ferramenta, inicie a separação.
Bata com um martelo de plástico no eixo secundário da caixa de velocidades até obter a separação dos semi-cárteres.
Notas
Tenha muito cuidado para não estragar as anilhas de calço que se encontram nos eixos e no tambor selector.
Retire os eixos da caixa de velocidades e o tambor de selecção das velocidades dos semi-cárteres (Secção 9 - 7.2, Desmontagem do grupo da caixa de velocidades).
Extraia o eixo do motor (C) utilizando um martelo de plástico e preste atenção às anilhas de calço (D).
Retire o eixo de transmissão da distribuição (2).
Recupere a junta de vedação OR (5) no canal de comunicação do óleo entre os semi-cárteres.
Revisão dos semi-cárteres
Efectue um controlo visual cuidadoso dos semi-cárteres do motor.
Controle, numa superfìcie de referência, se as superfìcies dos semi-cárteres estão perfeitamente planas. Verifique se os rolamentos (4) e (23) estão em bom estado. Se necessitar substituir os rolamentos principais, deve substitui-los aos pares (veja procedimento no parágrafo seguinte ”Revisão dos rolamentos principais”).
Notas
É aconselhável substituir todos os rolamentos dos semi-cárteres quando se faz a revisão do motor.
 
Substitua os rolamentos (10) e (15) da extremidade do eixo secundário da caixa de velocidades e os rolamentos (7) e (21) de suporte do eixo de transmissão da distribuição.
Quando substituir os rolamentos (14) e (12) de suporte do eixo primário da caixa de velocidades, bloqueie-os no semi-cárter com os espaçadores (17) e a placa de retenção (9) fixados respectivamente pelos parafusos (18) e (8).
A cada revisão é aconselhável substituir também o anel de vedação (13) situado entre o rolamento (12) e o semi-cárter do lado da corrente: lubrifique o anel (13) com álcool desnaturado, introduza-o até o fundo do semi-cárter, orientando-o como o indicado.
A cada revisão é aconselhável substituir também o anel de vedação (11) na parte externa do rolamento (10) e o anel de vedação (20) na parte externa do rolamento (21).
Em caso de substituição dos rolamentos de rolos (27) e dos anéis de vedação (28) no perno do braço oscilante, lubrifique as sedes dos rolamentos e dos anéis com a massa prescrita.
Instale o anel de vedação (28) interno como indicado na figura (E) e apoiado no anel elástico (29); o anel externo deve também ser instalado como indicado na figura (E).
Para a instalação dos anéis de vedação (28) e dos rolamentos de agulhas (27), utilize um tampão adequado, do tipo ilustrado.
Verifique se as condutas de lubrificação apresentam estrangulamentos ou obstruções.
Os rolamentos (27) devem ser montados com as palavras (F) orientadas como mostra a figura.
Verifique o estado dos casquilhos (19) de centragem. Caso apresentem deformações evidentes ou folga de acoplamento excessiva com os alojamentos, retire-os utilizando ferramentas adequadas.
Se a operação de remoção dos casquilhos de centragem (19) dos respectivos alojamentos no cárter for difìcil, utilize um macho esquerdo para forçar a saìda dos casquilhos.
Importante
Substitua sempre os casquilhos (19) removidos seguindo este procedimento.
Revisão dos rolamentos principais
Possuem pistas assimétricas uma em relação à outra; as cargas são transferidas, através da esfera, de um sulco para o outro, ao longo de rectas que formam um determinado ângulo com o eixo do rolamento. Os rolamentos oblìquos de esferas são adequados para sustentar cargas combinadas (radio‑axiais).
Este tipo de rolamento consegue aguentar cargas axiais dirigidas num único sentido. De facto, sob o efeito de uma carga radial, cria-se no rolamento uma força axial que deve ser equilibrada por outra dirigida no sentido oposto: por isso, normalmente, o rolamento é montado em oposição com um outro.
Para substituir os rolamentos:
-
-
-
instale o novo rolamento (enquanto o cárter está ainda com uma temperatura elevada) perfeitamente perpendicular ao eixo do alojamento, utilizando um tampão tubular que exerça pressão apenas no anel externo do rolamento;
-
Importante
No caso de motores particularmente gastos, pode acontecer que os anéis externos do rolamento já não apresentem a interferência correcta de montagem nos semi-cárteres.
 
Certifique-se de que a interferência entre os cárteres e os rolamentos (4) e (23) montados, não é inferior a 0,03 mm; caso contrário, substitua os semi-cárteres.
Importante
Após ter instalado os rolamentos principais novos, proceda à colocação de calços no eixo do motor, como descrito nos parágrafos Colocação de calços nos eixos” e “Fecho dos semi-cárteres” desta secção.
Remontagem dos semi-cárteres
Os semi-cárteres devem estar ìntegros e perfeitamente limpos. As superfìcies de acoplamento devem estar perfeitamente planas e sem rebarbas.
Remontagem do semi-cárter do lado da embraiagem
No lado interno do semi-cárter devem estar presentes:
-
-
o rolamento (14) de suporte do eixo da caixa de velocidades primário, fixo com parafusos (18) e espaçador (17): aplique um trava-roscas prescrito nos parafusos (18) e aperte-os a um binário de 10 Nm (Mìn. 9 Nm - Máx. 11 Nm) (Secção 3 - 3, Binários de aperto do motor);
-
Remontagem do semi-cárter do lado do alternador
No lado interno do semi-cárter devem estar presentes:
-
Aplique trava-roscas nos parafusos (8). Monte a placa de retenção (9) no rolamento do eixo secundário da caixa de velocidades (10) inserindo os parafusos (8) a fundo no semi-cárter do lado da corrente.
Notas
A placa de retenção do rolamento deve estar orientada com a parte larga dos orifìcios virada para cima.
 
Aperte os parafusos (8) a um binário de 10 Nm (Mìn. 9 Nm - Máx. 11 Nm) (Secção 3 - 3, Binários de aperto do motor).
O rolamento (12) da extremidade do eixo primário da caixa de velocidades com o espaçador interno (13): aplique massa nos rolos do rolamento.
Insira a fundo no rolamento o anel interno (B) anteriormente removido do mesmo. Aplique massa no anel interno.
O rolamento principal (4).
O rolamento de esferas (7) com seeger de paragem (6), no eixo de transmissão da distribuição, orientando-o, de modo que o lado fechado da caixa em material plástico fique virado para o semi-cárter.
Notas
Todos os rolamentos, à excepção dos principais, não possuem um lado especìfico de montagem: convém montar os rolamentos de modo que o lado com as palavras fique virado para cima.
Colocação de calços nos eixos
Antes de fechar os semi-cárteres, é necessário calcular os calços que irão determinar a folga axial do eixo do motor e dos eixos da caixa de velocidades.
Efectue o cálculo dos calços seguindo as instruções fornecidas a seguir.
Colocação de calços no eixo do motor
Após ter instalado os rolamentos principais novos, proceda da seguinte forma para determinar o valor “SA” total dos calços:
meça o valor “LA” entre as superfìcies de apoio dos rolamentos no eixo do motor;
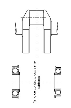
meça as profundidades “LA1” e “LA2” correspondentes à distância entre o plano de contacto dos semi-cárteres e a superfìcie de apoio da pista interna dos rolamentos;
acrescente uma pré-carga de 0,30 mm, para permitir que os rolamentos de tipo axial do eixo do motor assentem correctamente na respectiva sede, depois o anel interno que encaixa no anel externo.
Obteremos portanto:
SA=LA1+LA2+0,30-LA.
Para calcular a medida de um único calço, é necessário saber que:
SA=SA1+SA2
sendo que “SA1” e “SA2” representam os calços relativos aos semi-cárteres do lado da embraiagem 1 e do lado da corrente 2.
Considerando o alinhamento do eixo, obtém-se:
SA1=LA1+0,15-LA/2;
e, por último, o segundo calço: SA2=SA-SA1.
Método prático para determinar os calços do eixo do motor
Além das informações fornecidas, ilustramos também um procedimento prático que permite determinar correctamente a espessura dos calços que devem ser montados no eixo do motor.
Instale em cada lado do eixo do motor um calço (A) de espessura mìnima (1,90 mm) para evitar o contacto do munhão do eixo com o bloco do motor.
Instale o eixo do motor no semi-cárter e feche o bloco do motor.
Monte quatro parafusos M8 nas sedes indicadas na figura e bloqueie-os a um binário de aproximação de 19 Nm (Mìn. 17 Nm - Máx. 21 Nm) (Secção 3 - 3, Binários de aperto do motor).
Posicione um comparador (B) com base magnética utilizando uma placa de apoio fixa ao cárter do motor.
Coloque o apalpador apoiado na extremidade do eixo do motor e coloque o comparador a zero nesta posição.
Insira uma alavanca (C) entre o cárter e o munhão do eixo do motor e empurre este último na direcção do instrumento.
Leia no comparador a folga total presente e adicione o valor da pré-carga (0,30 mm) e o dos calços utilizados (1,90x2=3,8 mm).
Divida por dois a medida calculada para obter o valor da espessura dos calços a serem colocados em cada lado do eixo do motor.
Notas
Após o fecho dos semi-cárteres, o eixo do motor deve poder rodar com interferência nos rolamentos novos.
Colocação de calços nos eixos da caixa de velocidades
Como peças sobressalentes, são fornecidos os seguintes calços.
 
Lado da embraiagem (mm)
Lado da corrente (mm)
Colocação de calços no tambor da caixa de velocidades
Como peças sobressalentes, são fornecidos os seguintes calços.
 
Lado da embraiagem (mm)
Lado da corrente (mm)
Fecho dos semi-cárteres
Se removido, aplique trava-roscas prescrito no pino (24) e aperte-o a um binário de 15 Nm (Mìn. 13 Nm - Máx. 17 Nm)
(Secção 3 - 3, Binários de aperto do motor).
Instale o eixo de transmissão da distribuição (2) no rolamento de agulhas (21) no semi-cárter do lado da embraiagem.
Para não danificar o anel de vedação (20) no eixo de transmissão da distribuição, é aconselhável proteger a extremidade roscada do eixo com a respectiva tampa de protecção cód. 88700.5749. Humedeça o anel de vedação (20) com álcool e instale-o no eixo de transmissão da admissão, colocando-o em contacto com o rolamento de agulhas (21).
Monte o anel elástico de retenção (1) no alojamento do eixo e retire a tampa de protecção.
 
Notas
No caso de remontagem de peças usadas, antes de inserir o grupo da caixa de velocidades no semi-cárter, verifique se as pistas internas (A) dos rolamentos da extremidade dos eixos da caixa de velocidades estão instaladas no respectivo rolamento e não ficaram montadas no respectivo eixo.
Ligue os eixos da caixa de velocidades e proceda à montagem no semi-cárter do lado da embraiagem, intercalando os calços calculados.
Insira as forquilhas da 1a- 4a e 2a- 3a velocidade (B) nos respectivos canais de deslizamento das engrenagens conduzidas do eixo secundário.
Notas
As duas forquilhas são iguais.
Insira a forquilha da 5a- 6a velocidade (C) na engrenagem conduzida do eixo primário.
Instale no semi-cárter o tambor de comando da forquilha (D) com os calços calculados.
Instale os pernos (E) nas forquilhas anteriormente montadas.
Instale o eixo do motor com os calços calculados no rolamento do semi-cárter do lado da embraiagem, colocando as bielas (E) na posição correspondente aos respectivos alojamentos dos cilindros.
Verifique se estão instalados os dois casquilhos de centragem (19).
Depois de devidamente lubrificado, para mantê-lo no alojamento, coloque o anel de vedação OR (5) no canal de comunicação do óleo, entre os dois semi-cárteres.
Importante
Verifique se as bielas (E) estão correctamente posicionadas nos respectivos alojamentos dos cilindros. Um posicionamento incorrecto levaria inevitavelmente à reabertura dos semi-cárteres.
Aplique um cordão uniforme e contìnuo de vedante lìquido DUCATI na superfìcie de acoplamento dos semi-cárteres, contornando todos os orifìcios, como mostra a figura.
Monte os semi-cárteres (3) e (16) se necessário, com um martelo de borracha próximo dos eixos.
Prepare os parafusos de fixação e introduza-os no semi-cárter do lado do alternador (3), prestando atenção aos diferentes comprimentos.
 
Aperte a fundo os parafusos de união de modo progressivo, começando pelos de diâmetro maior (M8).
Instale dois parafusos M8 (22), no semi-cárter do lado da embraiagem (16).
Aperte todos os parafusos a um binário indicado a seguir (Secção 3 - 3, Binários de aperto do motor):
-
-
Certifique-se de que o eixo do motor roda com uma certa interferência nos rolamentos principais (o eixo do motor deve ter uma pré-carga de 0,15÷0,20 mm) e que todos os componentes montados rodam ou se deslocam correctamente.
Proceda à montagem do anel de vedação (11) no eixo secundário da caixa de velocidades com o respectivo tampão (T).
 
Volte a montar a engrenagem de transmissão do motor de arranque