14 -
1
2
3
4
5
6
7
8
9
10
11
12
13
14
15
16
17
18
19
 Spare parts catalogue
Importante
As referências em negrito deste capìtulo indicam que as peças citadas não estão presentes nas imagens ao lado do texto, mas devem ser localizadas nesta vista explodida.
Inspecção da transmissão secundária
Para verificar o desgaste da transmissão secundária é necessário proceder ao controlo visual do pinhão (3) e da coroa (7). Se o perfil dos dentes estiver como na figura (linha tracejada) proceda à substituição.
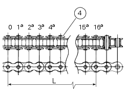
No caso da corrente (4), é necessário medir 16 passos mantendo-a bem esticada.
Se o valor (L) obtido for superior a 256,5 mm, substitua a corrente.
Importante
Se substituir a coroa (7), deve substituir também o pinhão do motor (3) e a corrente (4).
Desmontagem do pinhão da corrente
Retire a tampa do pinhão (6) desapertando os parafusos (5).
Afrouxe a corrente (Secção 4 - 3, Regulação da tensão da corrente).
Desmonte a corrente utilizando a respectiva ferramenta cód. 88713.1344.
A ferramenta é composta por um alojamento (A), um punção (B), um corpo (C) e duas chaves (D) e (E).
Coloque a malha da corrente a abrir no interior do alojamento (A).
Insira um punção (B) no corpo (C) e desaperte manualmente o parafuso, de modo que o punção fique nivelado.
Insira o alojamento (A) que contém a corrente no corpo (C).
Rode manualmente o parafuso (F) do corpo (C) de modo que o punção (B) fique em contacto com o perno; certifique-se de que estes ficam alinhados.
Insira a chave hexagonal (D) na parte hexagonal do corpo (C) e a chave (E) no parafuso.
Rode o parafuso (F) para a direita para obter a expulsão do perno.
Retire a corrente.
 
Engate uma mudança baixa e desaperte os dois parafusos (1) na placa de retenção do pinhão (2).
Retire a placa (2) do eixo secundário da caixa de velocidades.
Retire o pinhão do motor (3) com corrente (4) do eixo secundário da caixa de velocidades e, de seguida, puxe a corrente (4) do pinhão.
Remontagem do pinhão da corrente
Verifique se os encaixes do eixo secundário e do pinhão estão em perfeitas condições.
Instale a corrente (4) no pinhão (3).
Insira o pinhão no eixo secundário da caixa de velocidades (G), como indicado na figura, e empurre-o para além da ranhura (H).
Insira a placa de retenção (2) no eixo secundário da caixa de velocidades (G) e rode-o no interior da ranhura (H) até fazer corresponder os orifìcios da placa (2) com os orifìcios roscados do pinhão (3): oriente a placa de retenção com a aresta arredondada virada para o pinhão.
Aplique trava-roscas na rosca dos parafusos (1).
Engate a primeira mudança.
Bloqueie os parafusos (1) a um binário de 6 Nm ±5% (Secção 3 - 3, Binários de aperto do subchassi).
Importante
Efectue o tensionamento no modo descrito na Secção 4 - 3, Regulação da tensão da corrente.
Monte a corrente e volte a fechá-la utilizando a ferramenta cód. 88713.1344, usada para abrir a corrente.
A ferramenta é composta por um alojamento (A), um punção (B), um corpo (C), duas chaves (D) e (E) e um alojamento da placa (F). Ligue as duas extremidades da corrente à malha externa e insira manualmente a placa nos pernos.
Atenção
Lubrifique abundantemente os pernos e evite o mais possìvel tocá-los com as mãos.
 
Posicione o alojamento (A) na malha externa.
Monte o punção (B) no corpo (C) e o alojamento da placa (F).
Insira o corpo (C) no alojamento (A) que mantém a corrente em posição.
Rode manualmente o parafuso (L) até que o alojamento da placa (F) fique apoiado na própria placa.
Com a ajuda das chaves (D) e (E), rode o parafuso (L) para a direita até que o perno da corrente fique em contacto com o alojamento (F).
Retire o alojamento (A) da ferramenta.
Rode o parafuso (L) manualmente até que o punção (B) fique em contacto com o perno a rebitar e certifique-se de que estes ficam alinhados.
Utilizando as chaves (D) e (E), rode o parafuso para a direita até que o punção (B) fique apoiado na placa da corrente.
A fim de terminar a rebitagem, desloque-se com toda a ferramenta para o segundo perno e repita as operações citadas.
Atenção
Verifique escrupulosamente os dois pernos rebitados: a figura mostra o perno rebitado correctamente.
 
Efectue o tensionamento da corrente (Secção 4 - 3, Regulação da tensão da corrente).
Posicione a tampa do pinhão (6) apertando os parafusos (5) a um binário de 6 Nm ±10% (Secção 3 - 3, Binários de aperto do subchassi).
Substituição da coroa
 
Retire o fecho (18) de segurança da porca (8).
Bloqueie a rotação do perno da roda e desaperte a porca de bloqueio (B) com a chave de arco.
Desaperte completamente a porca (8) e retire a anilha (9) e a flange (11) com coroa (7).
Recupere o espaçador com colar (15).
Empurre com um martelo a flange (11) com o alìvio de esforço (12) fora da coroa (7).
 
Remontagem da coroa
Verifique o estado dos casquilhos de alìvio de esforço (12) e, se necessário, substitua-os removendo-os da flange.
Para a remontagem, efectue as operações na ordem inversa.
Se necessário, remova os alìvios de esforço (12), tendo o cuidado de lubrificar todas as superfìcies de acoplamento e a parte inferior das porcas (10) de fixação dos casquilhos de alìvio de esforço (12) com massa prescrita.
Verifique o desgaste seguindo as instruções do inìcio da secção.
Para a remontagem da porca (8) e do fecho (18) de fixação da flange porta-coroa, siga as especificações indicadas para a porca de bloqueio da roda, na Secção 7 - 2, Remontagem da roda traseira.
 
Lavagem da corrente
Para uma lavagem correcta da corrente com OR, deve utilizar petróleo, nafta ou óleo de parafina.
Evite absolutamente a utilização de gasolina, tricloroetileno e qualquer outro tipo de solvente que possa danificar os OR de borracha. Por este motivo, devem também evitar-se os produtos em spray não especìficos para correntes OR.
Lubrificação da corrente
Na corrente com OR, a lubrificação anti-desgaste é garantida pelo lubrificante original selado, na zona de funcionamento do perno-bucha, pelos mesmos OR. É, no entanto, indispensável efectuar uma lubrificação periódica com objectivo de protecção, tanto das partes metálicas da corrente como dos OR.
A lubrificação destes últimos destina-se a mantê-los suficientemente elásticos, garantindo a máxima aderência.
A lubrificação com objectivo de protecção obtém-se aplicando uma fina camada de óleo para motor de alta densidade, em todo o comprimento da corrente, tanto por dentro como por fora, utilizando um pincel comum (Secção 3 - 2, Abastecimentos e lubrificantes).