14 -
1
2
3
4
5
6
7
8
9
10
11
12
13
14
15
16
17
18
19
 Catalogue des pièces détachées
Important
Les références en caractères gras à l'intérieur de ce chapitre identifient des composants qui ne sont pas représentés sur les figures en marge du texte, mais uniquement dans l'éclaté ci-contre.
Inspection de la transmission secondaire
Pour contrôler l'usure de la transmission finale, il faut faire un contrôle visuel du pignon (3) et de la couronne (7). Si le profil des dents est similaire à celui de la figure (en tirets), remplacer.
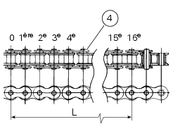
Dans le cas de la chaîne (4), il faut mesurer 16 pas en la maintenant bien tendue.
Si la cote (L) mesurée est supérieure à 256,5 mm, remplacer la chaîne.
Important
La couronne (7) doit toujours être remplacée en même temps que le pignon (3) et la chaîne (4).
Dépose du pignon de chaîne
Déposer le cache du pignon (6) en desserrant les vis (5).
Détendre la chaîne (Sect. 4 - 3, Réglage de la tension de la chaîne).
Déposer la chaîne à l'aide de l'outil spécial réf. 88713.1344.
L'outil comprend un coffret (A), un jet (B), un corps (C) et deux clés (D) et (E).
Mettre le coffret (A) sur le maillon de chaîne à faire sauter.
Introduire un jet (B) dans le corps (C) et dévisser manuellement le boulon pour éviter que le jet ne dépasse.
Introduire le coffret (A) qui contient la chaîne dans le corps (C).
Tourner à la main le boulon (F) du corps (C) jusqu'à ce que le jet (B) entre en contact avec le guide ; veiller à ce que le jet et le guide soient parfaitement alignés.
Introduire la clé hexagonale (D) dans la partie hexagonale du corps (C) et la clé (E) sur le boulon.
Tourner le boulon (F) dans le sens des aiguilles d'une montre pour expulser le guide.
Déposer la chaîne.
 
Enclencher une petite vitesse et dévisser les deux vis (1) sur la plaquette de retenue pignon (2).
Retirer la plaquette (2) de l'arbre pignonné secondaire.
Sortir le pignon de moteur (3) avec la chaîne (4) de l'arbre pignonné secondaire et sortir la chaîne (4) du pignon.
Repose du pignon de chaîne
Vérifier que l'arbre secondaire et le pignon sont parfaitement emboîtés.
Installer la chaîne (4) sur le pignon (3).
Insérer le pignon sur l'arbre pignonné secondaire (G) comme le montre la figure et le pousser au-delà de la rainure (H).
Insérer la plaquette de retenue (2) sur l'arbre pignonné secondaire (G) et la tourner à l'intérieur de la rainure (H) jusqu'à ce que les trous de la plaquette (2) et les taraudages du pignon (3) coïncident : orienter l’arête arrondie de la plaque d’arrêt vers le pignon.
Appliquer du frein-filets sur les vis (1).
Enclencher la première vitesse.
Serrer les vis (1) au couple de 6 Nm ±5 % (Sect. 3 - 3, Couples de serrage du cadre).
Important
Effectuer la mise en tension comme décrit à la Sect. 4 - 3, Réglage de la tension de la chaîne.
Monter la chaîne et la refermer à l'aide de l'outil réf. 88713.1344 utilisé pour ouvrir la chaîne.
L'outil comprend un coffret (A), un jet (B), un corps (C), deux clés (D) et (E) et un coffret pour plaquette (F). Relier les deux extrémités de la chaîne avec le maillon externe et introduire à la main la plaquette sur les axes.
Attention
Lubrifier abondamment les axes et éviter autant que possible de les toucher avec les mains.
 
Mettre le coffret (A) sur un maillon externe.
Monter le jet (B) sur le corps (C) et le coffret de plaquette (F).
Introduire le corps (C) dans le coffret (A) qui maintient la chaîne immobile.
Tourner le boulon (L) à la main jusqu'à ce que le coffret pour plaquette (F) s'appuie contre la plaquette.
À l'aide des clés (D) et (E), tourner le boulon (L) dans le sens des aiguilles d'une montre jusqu'à ce que l'axe de la chaîne soit en contact du coffret (F).
Sortir le coffret (A) de l'outil.
Tourner le boulon (L) à la main jusqu'à ce que le jet (B) soit au contact de l'axe à river et vérifier qu'ils sont alignés.
En utilisant les clés (D) et (E), tourner le boulon dans le sens des aiguilles d'une montre jusqu'à ce que le jet (B) s'appuie contre la plaquette de la chaîne.
Pour compléter le rivetage, déplacer l'outil dans le second axe et répéter l'opération.
Attention
Contrôler scrupuleusement les deux axes rivetés : la figure montre l'axe correctement riveté.
 
Effectuer la mise en tension de la chaîne (Sect. 4 - 3, Réglage de la tension de la chaîne).
Positionner le cache du pignon (6) et serrer les vis (5) au couple de 6 Nm ±10% (Sect. 3 - 3, Couples de serrage du cadre).
Remplacement de la couronne
 
Ôter l'agrafe (18) de sécurité de l'écrou (8).
Bloquer la rotation de l'axe de roue et desserrer l'écrou de blocage (B) à l'aide d'une clé à douille.
Dévisser complètement l'écrou (8) et retirer la rondelle (9) et le flasque (11) avec la couronne (7).
Récupérer l'entretoise à collerette (15).
À l'aide d'un maillet, pousser le flasque (11) avec amortisseurs de couple en caoutchouc (12) en dehors de la couronne (7).
 
Repose de la couronne
Contrôler l'état des amortisseurs de couple (12) et les remplacer s'ils sont abîmés en les sortant du porte-couronne.
Pour la repose, procéder dans le sens inverse de la dépose.
Si les amortisseurs de couple (12) ont été déposés, veiller à enduire de graisse du type prescrit tous les plans de joint et les surfaces sous les têtes des écrous (10) de fixation des amortisseurs de couple (12).
Contrôler l'usure en procédant comme décrit au début de cette section.
Pour la repose de l'écrou (8) et du clip (18) de fixation du flasque porte-couronne, suivre les indications relatives à l'écrou de blocage de la roue, à la Sect. 7 - 2, Repose de la roue arrière.
 
Nettoyage de la chaîne
Une chaîne à joints toriques doit être nettoyée avec du pétrole, du gazole ou de l'huile de paraffine.
Ne jamais utiliser d'essence, de trichloréthylène ou tout autre type de solvant pour ne pas risquer de détériorer les joints toriques en caoutchouc. De même, éviter l'emploi de produits en spray non spécifiques pour chaînes à joints toriques.
Graissage de la chaîne
Dans la chaîne avec joint torique la lubrification anti-usure est assurée par le lubrifiant d'origine, dans la zone de travail axe-douille, par les joints toriques. Il est toutefois indispensable de lubrifier périodiquement pour protéger aussi bien les parties métalliques de la chaîne que les joints toriques.
Les joints toriques doivent être lubrifiés pour rester suffisamment élastiques et assurer une tenue optimale.
La lubrification se fait en appliquant à l'aide d'un simple pinceau un voile d'huile boîte de vitesses à haute densité (Sect. 3 - 2, Ravitaillements et lubrifiants) sur toute la longueur de la chaîne, aussi bien à l'intérieur qu'à l'extérieur afin de la protéger.