14 -
1
2
3
4
5
6
7
8
9
10
11
12
13
14
15
16
17
18
19
 Catálogo recambios
Importante
Las referencias en negrilla de este capìtulo indican que los componentes en cuestión no aparecen en las imágenes que acompañan al texto sino en la tabla de despiece.
Inspección transmisión secundaria
Para controlar el desgaste de la transmisión secundaria es necesario realizar un control visual del piñón (3) y de la corona (7). Si el perfil de los dientes se encontrara como ilustra la figura (lìnea punteada), sustituir.
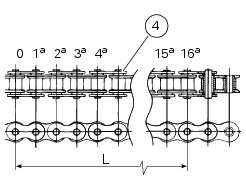
Para la cadena (4), medir 16 pasos manteniéndola tensada.
Si la distancia (L) es superior a 256,5 mm, sustituir la cadena.
Importante
La corona (7) debe sustituirse con el piñón motor (3) y la cadena (4).
Desmontaje piñón cadena
Destornillar los tornillos (5) y quitar la tapa piñón (6).
Aflojar la cadena (Secc. 4 - 3, Regulación tensado cadena).
Desmontar la cadena usando la especìfica herramienta cód. 88713.1344.
La herramienta está compuesta por un contenedor (A), un punzón (B), un cuerpo (C) y dos llaves (D) y (E).
Colocar el eslabón de la cadena que se debe abrir dentro del contenedor (A).
Introducir el punzón (B) en el cuerpo (C) y destornillar manualmente el bulón de manera que el punzón no sobresalga.
Introducir el contenedor (A) que contiene la cadena en el cuerpo (C).
Girar manualmente el bulón (F) del cuerpo (C) de manera que el punzón (B) entre en contacto con el perno, prestar atención que se encuentren alineados.
Introducir en la parte hexagonal del cuerpo (C) la llave hexagonal (D) y la llave (E) en el bulón.
Girar en el sentido de las agujas del reloj el bulón (F) para expulsar el perno.
Quitar la cadena.
 
Introducir una marcha baja y destornillar los dos tornillos (1) en la plaqueta bloquea piñón (2).
Quitar la plaqueta (2) del eje secundario del cambio.
Extraer el piñón del motor (3) con cadena (4) del eje secundario del cambio y luego sacar la cadena (4) del piñón.
Montaje piñón cadena
El eje secundario y el piñón deben estar perfectamente ensamblados.
Colocar la cadena (4) en el piñón (3).
Introducir el piñón en el eje secundario del cambio (G), como ilustra la figura y empujar más allá de la acanaladura (H).
Introducir la plaqueta de bloqueo (2) en el eje secundario del cambio (G) y girarlo en el interior de la acanaladura (H) hasta que los orificios de la plaqueta (2) coincidan con los orificios roscados del piñón (3): orientar la plaqueta de bloqueo con la arista redondeada hacia el piñón.
Aplicar sellador en la rosca de los tornillos (1).
Acoplar la primera marcha.
Bloquear los tornillos (1) al par de apriete de 6 Nm ±5% (Secc.  3 - 3, Pares de apriete del bastidor).
Importante
Tensar como se describe en la Secc. 4 - 3, Regulación tensado cadena.
Montar la cadena y cerrarla con la herramienta cód. 88713.1344, usada para abrir la cadena.
La herramienta está compuesta por un contenedor (A), un punzón (B), un cuerpo (C), dos llaves (D) y (E) y un contenedor plaqueta (F). Unir las dos extremidades de la cadena con el eslabón exterior e introducir manualmente la plaqueta en los pernos.
Atención
Lubricar abundantemente los pernos y evitar, en lo posible, tocarlos con las manos.
 
Colocar el contenedor (A) en correspondencia del eslabón exterior.
Montar el punzón (B) en el cuerpo (C) y el contenedor plaqueta (F).
Introducir el cuerpo (C) en el contenedor (A) que mantiene la cadena en posición.
Girar a mano el bulón (L) hasta que el contenedor plaqueta (F) se apoye en la plaqueta.
Con la ayuda de las llaves (D) y (E) girar el bulón (L) en el sentido de las agujas del reloj hasta que el perno de la cadena entre en contacto con el contenedor (F).
Quitar de la herramienta el contenedor (A).
Girar el bulón (L) a mano hasta que el punzón (B) entre en contacto con el perno que se debe remachar y controlar que los mismos se encuentren alineados.
Usando las llaves (D) y (E) girar el bulón en el sentido de las agujas del reloj hasta que el punzón (B) se apoye en la plaqueta de la cadena.
Para completar el remachado, desplazarse con toda la herramienta en el segundo perno y repetir el procedimiento.
Atención
Controlar cuidadosamente los dos pernos remachados: la figura ilustra el perno remachado de manera correcta.
 
Tensar la cadena (Secc. 4 - 3, Regulación tensado cadena).
Colocar la tapa piñón (6) ajustando los tornillos (5) al par de apriete de 6 Nm ±10% (Secc. 3 - 3, Pares de apriete del bastidor).
Sustitución corona
 
Extraer el seguro (18) de la tuerca (8).
Bloquear la rotación del perno rueda y aflojar con una llave Allen la tuerca de bloqueo (B).
Destornillar completamente la tuerca (8), quitar la arandela (9) y la brida (11) con la corona (7).
Recuperar el separador con collar (15).
Con un martillo, empujar la brida (11) con el dispositivo amortiguador (12) fuera de la corona (7).
 
Montaje corona
Controlar el estado de los casquillos del dispositivo amortiguador (12) y sustituirlos, si fuese necesario, extrayendo la brida.
Para montar nuevamente, seguir las operaciones de manera inversa.
En caso que fuese necesario, quitar los dispositivos amortiguadores (12), engrasar todas las superficies de acoplamiento y debajo de la cabeza de las tuercas (10) que fijan los casquillos de los dispositivos amortiguadores (12) con grasa recomendada.
Controlar el desgaste siguiendo las instrucciones que se indican al inicio de esta sección.
Para montar nuevamente la tuerca (8) y el seguro (18) que fija la brida porta-corona, seguir las especificaciones indicadas para la tuerca de bloqueo rueda, en la Secc. 7 - 2, Montaje rueda trasera.
 
Lavado de la cadena
La cadena con anillo tórico se debe lavar con petróleo, nafta o aceite de parafina.
No utilizar gasolina, tricloroetileno o solventes porque pueden dañar los anillos tóricos de goma. Evitar también los productos en aerosol no especìficos para cadenas con OR.
Lubricación de la cadena
En la cadena con OR la lubricación antidesgaste está garantizada por el lubricante original sellado, por los OR en la zona de trabajo perno-casquillo. De todas maneras, es indispensable lubricar periódicamente para proteger las partes metálicas de la cadena y los OR.
La lubricación mantiene a los OR lo suficientemente elásticos para garantizar la máxima estanqueidad.
La lubricación para protección se logra aplicando con un pincel una capa de aceite cambio de alta densidad a lo largo de toda la cadena, tanto en la parte interior como en la parte exterior (Secc. 3 - 2, Abastecimientos y lubricantes).